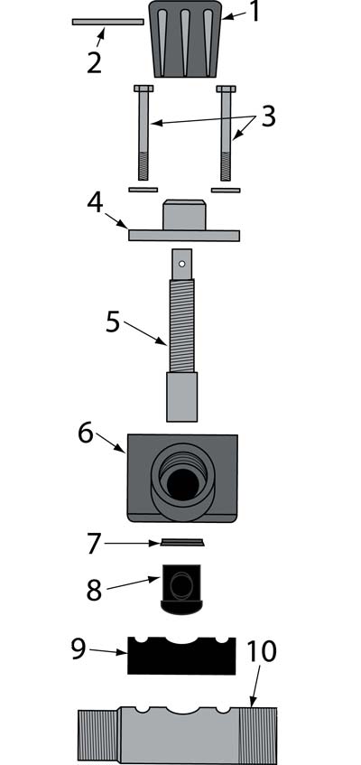
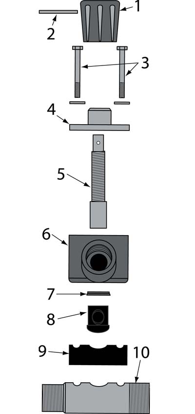
MPV ABRASIVE METERING VALVE | 1-1/4"
MPV ABRASIVE METERING VALVE | 1-1/4"
Part number: 2125-107
MPV ABRASIVE METERING VALVE, 1-1/4", URETHANE SLEEVE, 1-1/4" NPT BLAST POT CONNECTION, 1-1/4" MALE NPT x 1-1/2" MALE NPT NIPPLE

Sandblasting Abrasives
Blast Pot Machines
Alternative Blasting Machines
Blast Lighting
Blast Cabinets
Dust Collectors
Blast Nozzles and Holders
Automation
Industrial Blast Facilities
Specialty Equipment
MontiPower Surface Equipment & Parts
Replacement Parts & Supplies
Blast Helmets & Accessories
Safety Accessories
Hoses and Couplings
Abrasives Sanding Belts and Disc
Schmidt MFG Valves and Parts